Industrial Valve News

1-12 of 103 results
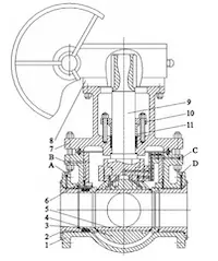
Polymerization Reactor Three-Way Ball Valve Modification

Polymerization Reactor Three-Way Ball Valve Modification

  • Sep 23, 2025
  • Hits: 3

Abstract This article outlines the operating principles and applications of three-way ball valves and proposes an effective modification solution. By redesigning the valve core from a floating to...

read more


High-Temperature Three-Way Ball Valve Cooling System Design and Analysis

High-Temperature Three-Way Ball Valve Cooling System Design and Analysis

  • Sep 11, 2025
  • Hits: 1

Abstract High-temperature valves generally require heat-resistant materials, which are both costly and limited in service life. This design integrates cooling structures not only in the three-way flow...

read more


Low-Temperature Large-Diameter High-Pressure Top-Entry Ball Valves

Low-Temperature Large-Diameter High-Pressure Top-Entry Ball Valves

  • Aug 14, 2025
  • Hits: 4

Abstract: The performance of low-temperature, large-diameter, high-pressure, top-entry trunnion-mounted ball valves is primarily influenced by seat seal leakage, micro-leakage at the central flange...

read more


Single-Seam Fully Welded Trunnion Ball Valve Manufacturing Process

Single-Seam Fully Welded Trunnion Ball Valve Manufacturing Process

  • Aug 14, 2025
  • Hits: 1

Abstract: This article describes the welding method, strength testing, upper and lower stem hole machining, and chip prevention measures for the body assembly of a single-seam fully welded trunnion...

read more


Manufacturing and Inspection Technologies for Fully Welded Ball Valves

Manufacturing and Inspection Technologies for Fully Welded Ball Valves

  • Jul 30, 2025
  • Hits: 1

Abstract: This paper provides an overview of the manufacturing and inspection technologies employed in the production of fully welded ball valves, with a particular emphasis on fabrication and welding...

read more


Selecting Direct-Buried Fully Welded Electro-Hydraulic Ball Valves

Selecting Direct-Buried Fully Welded Electro-Hydraulic Ball Valves

  • Jul 25, 2025
  • Hits: 2

Abstract: Considering the process characteristics and control requirements of line cut-off valves in urban natural gas high-pressure pipeline networks, this paper outlines the technical specifications...

read more


Investigation of Fully Welded Ball Valves’ Seismic Behavior via Spectrum Analysis

Investigation of Fully Welded Ball Valves’ Seismic Behavior via Spectrum Analysis

  • Jun 27, 2025
  • Hits: 5

Abstract To evaluate the seismic performance of fully welded ball valves, this study employs the modal decomposition response spectrum method, combined with actual earthquake data from the PEER seismic...

read more


Fully Welded Ball Valves in Natural Gas Pipelines: Design Principles and Typical Fault Analysis

Fully Welded Ball Valves in Natural Gas Pipelines: Design Principles and Typical Fault Analysis

  • Jun 18, 2025
  • Hits: 2

Abstract: Fully welded ball valves are widely used in natural gas distribution stations, performing essential functions such as connecting or isolating the flow and changing its direction. The performance...

read more


Bidirectional Sealing Performance of Large-Diameter Fully Welded Ball Valves

Bidirectional Sealing Performance of Large-Diameter Fully Welded Ball Valves

  • May 28, 2025
  • Hits: 5

Abstract Leakage in pipelines transporting toxic or flammable gases can easily lead to fires, explosions, and other serious accidents. Large-diameter ball valves are widely used in mine ventilation and...

read more


Welding Process Planning for High-Performance Fully Welded Ball Valves

Welding Process Planning for High-Performance Fully Welded Ball Valves

  • May 21, 2025
  • Hits: 2

Abstract Using the general finite element analysis software ABAQUS, a thermal simulation was conducted on the welding process of the connection flange of a company's X80 steel fully welded ball valve....

read more


Welding Process of Fully Welded Ball Valves for Long-Distance Pipelines

Welding Process of Fully Welded Ball Valves for Long-Distance Pipelines

  • Apr 28, 2025
  • Hits: 4

Abstract: This paper introduces the welding materials, welding methods, joint structures, and welding procedures used in the fabrication of fully welded ball valve bodies for long-distance pipelines....

read more


CFD-Based Flow Field Analysis of Fully Welded Ball Valves During Opening and Closing

CFD-Based Flow Field Analysis of Fully Welded Ball Valves During Opening and Closing

  • Apr 22, 2025
  • Hits: 2

Abstract: Fully welded ball valves offer advantages such as rapid opening and closing as well as reliable sealing, making them widely used in petrochemical, natural gas, and other industrial applications. The...

read more


Total 103 Records, 12 records per page